| 一、概述 |
随着液压工业的飞速发展,对液压系统工作的可先靠性提出了更高的要求目前,液压系统中的故障有70%左右
是由于油液的污染造成的,为了控制液压系统的污染程度,除了在液压系统中安装滤油器外。对于注入系统内的新油需用滤油车进行预过滤。同时也可用滤油车对液压系统进行循环过滤,净化系统油液。
该精细油车最大特点是滤油精度高,性能可靠,结构紧凑,外形美观移动灵活,使用维修方便滤油精度有3、5、10、20、30、40微米。用户可根据需要自由选择。只要调换不同精度滤芯就可达到使用要求。
精细滤油车可为液压系统、静压系统、润滑系统与各类用油系统的油液作灌注或定期过滤。对脏油回收也具有一定的经济效果。是理想的节能设备。
精细滤油车仅滤除油液中杂质。对油液的各项指标无影响。 |
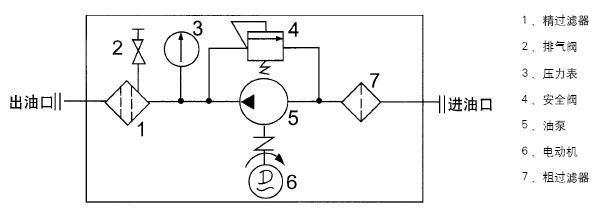
| 二、油路图 |
|
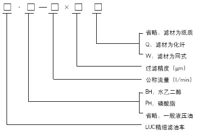
| 三、型号说明 |
|
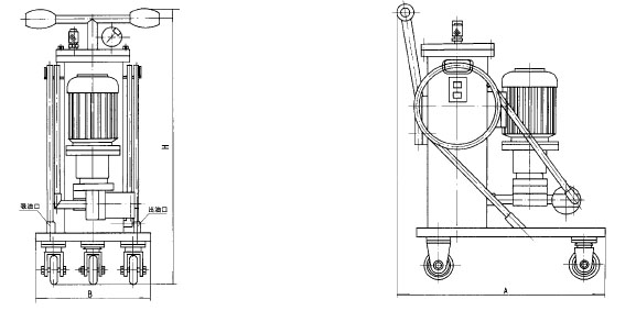
| 四、技术规格与外形尺寸 |
|
型 号 |
流量
(l/min) |
压力损失
(MPa) |
粗滤精度
(μm) |
精滤精度
(μm) |
电机功率
(kW) |
电压(V) |
重量
(Kg) |
尺 寸 |
H |
A |
B |
LUC-16×※ |
16 |
≤0.02
|
100
|
3、5 |
0.37 |
380
|
60 |
920 |
470 |
350 |
LUC-40×※ |
40 |
10、20 |
0.75 |
90 |
930 |
560 |
400 |
LUC-63×※ |
63 |
30、40 |
1.1 |
100 |
960 |
560 |
400 |
LUC-100×※ |
100 |
|
1.5 |
110 |
960 |
560 |
400 |
|
| 五、用户自配附件与勿损件 |
滤油车型号 |
粗滤芯型号 |
精滤芯型号 |
输送胶管 |
骨架式油封 |
LUC-16×※ |
WU-63×100-J
|
CZX-16×※ |
19 |
20×40×10 |
LUC-40×※ |
CZX-40×※ |
25 |
20×45×10 |
LUC-63×※ |
CZX-63×※ |
25 |
25×45×10 |
LUC-100×※ |
WU-100×100-J |
CZX-100×※ |
32 |
30×50×10 |
|
六、使用与保养
1、滤油车启动时不能使油泵反转,当确认转向后,才能正常工作。
2、为了精滤芯能正常工作,应及时打开排气阀,将滤筒中空气排净。
3、滤油车使用一段时间后,因粗滤芯堵塞造成油泵噪音增加,应及时清洗粗滤芯。
4、精滤芯使用一段时间后,因污染物堵塞引起压力高达0.4 Mpa时,应及时清洗或更换。
5、如果滤油车抽不出油,应检查油泵转向是否正确,油箱至油泵吸口密封是否可靠,吸油口虽否离开油面或油液已吸完。
6、当发现滤油车流量减少时,应检查粗、精滤芯是否堵塞严重。油泵轴封是否磨损或因反转而造成吹出,吸入空
气。 |